イーグルクランプ(株)

ねじ式クランプ SAS-1.6(3-25)

  • 型番:SAS-1.6(3-25)
  • 発注コード:EGL77
  • メーカー商品コード:000000003649
  • JANコード:4571690853765
商品一覧へ
(サイズ・色違いなど)

仕切価格
標準価格 ¥69,300
 
注文単位 1個
  • ※4/28 23:30 時点の情報です


用途 ●目違い修正・部材引き寄せ・肌付け・溶接・組立・建直し・位置決め・固定アイピース・引張ピース・安全帯取り付けピース。
商品説明
  • 世界特許の球面回転アゴ式自動締め付け機構(全方向制式)。
  • ねじ式万力と自動締め付け機構の二重安全構造。
  • チェーン式引張ブロック用フックの入る大きなシャックル穴。
  • クサビ、ジャッキ等による加圧・押し付け時の反力支持ピースとしても使用可能。
  • 締付ねじ及び球面回転アゴは特殊合金鋼製で高周波焼入れ済み。
  • アークストライクに強い高抗張力鋼製本体。
  • 特許スプリング・カラーで着脱が簡単で確実。
  • 焼付塗装(エポキシ塗装)仕上げ。
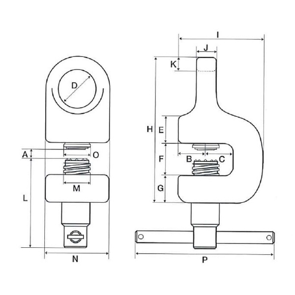
商品スペック
  • 最大使用荷重(kg):1600
  • 有効板厚(mm):3~25
  • 寸法B(mm):30
  • 寸法C(mm):30
  • 寸法D(mm):Φ42
  • 寸法E(mm):30
  • 寸法F(mm):36
  • 寸法G(mm):30
  • 寸法H(mm):161
  • 寸法I(mm):93
  • 寸法J(mm):22
  • 寸法K(mm):14
  • 寸法L(mm):99
  • 寸法M(mm):Φ30
  • 寸法N(mm):70
  • 寸法O(mm):Φ30
  • 寸法P(mm):150
  • 寸法Q(mm):Φ22
  • 適合部材:鋼板・形鋼・平鋼・鋼製粱・鉄骨・橋梁・鉄鋼構造物・鋼製枠・鉄矢板・クレーンビーム・コラム・鏡板・パイプ・造船用トランス材等
注意事項
  • <注意・使用条件>>
  • Qはベアリング寸法です。
  • つり上げ、つり下げには使用出来ません。
  • クランプを取付けたまま繰り返して使用する場合、締付ねじを必ず諦め直します。
  • 作業中に引張方向が変わる場合、丸環付きのクランプをご使用ください。
  • 使用中のフック、クサビ、ジャッキ等の跳びはねに注意してください。<<特記事項>>【画像注意事項】
  • SAS型のシリーズ画像です。
内容品・付属品
原産国
特記事項